Rtd Amplifier Ic . An external resistor sets the sensitivity for the rtd being. A resistance temperature device (rtd) can be fabricated in several ways, but the most common are based on the temperature characteristics of. The max31865 handles all of your rtd needs, and can even compensate 3 or 4 wire rtds for better accuracy. Connect to it with any microcontroller over spi and. A precision current reference provides excitation and an. This translates rtd resistance to a voltage level convenient for an adc input. Resistance temperature detectors (rtds) are temperature. Rtds require precision signal conditioning circuitry for converting sensor output to an accurate temperature reading. For precision temperature sensing, nothing beats a platinum rtd.
from www.youtube.com
This translates rtd resistance to a voltage level convenient for an adc input. A precision current reference provides excitation and an. Resistance temperature detectors (rtds) are temperature. A resistance temperature device (rtd) can be fabricated in several ways, but the most common are based on the temperature characteristics of. The max31865 handles all of your rtd needs, and can even compensate 3 or 4 wire rtds for better accuracy. Connect to it with any microcontroller over spi and. For precision temperature sensing, nothing beats a platinum rtd. An external resistor sets the sensitivity for the rtd being. Rtds require precision signal conditioning circuitry for converting sensor output to an accurate temperature reading.
Audio Amplifier Use LM358 OpAmp IC By Et Electronics & Electric
Rtd Amplifier Ic For precision temperature sensing, nothing beats a platinum rtd. This translates rtd resistance to a voltage level convenient for an adc input. A precision current reference provides excitation and an. Connect to it with any microcontroller over spi and. The max31865 handles all of your rtd needs, and can even compensate 3 or 4 wire rtds for better accuracy. Resistance temperature detectors (rtds) are temperature. An external resistor sets the sensitivity for the rtd being. A resistance temperature device (rtd) can be fabricated in several ways, but the most common are based on the temperature characteristics of. For precision temperature sensing, nothing beats a platinum rtd. Rtds require precision signal conditioning circuitry for converting sensor output to an accurate temperature reading.
From www.youtube.com
Audio Amplifier Use LM358 OpAmp IC By Et Electronics & Electric Rtd Amplifier Ic A precision current reference provides excitation and an. A resistance temperature device (rtd) can be fabricated in several ways, but the most common are based on the temperature characteristics of. For precision temperature sensing, nothing beats a platinum rtd. The max31865 handles all of your rtd needs, and can even compensate 3 or 4 wire rtds for better accuracy. Resistance. Rtd Amplifier Ic.
From www.reddit.com
RTD Amplifier Circuit behavior? r/AskElectronics Rtd Amplifier Ic For precision temperature sensing, nothing beats a platinum rtd. This translates rtd resistance to a voltage level convenient for an adc input. Connect to it with any microcontroller over spi and. The max31865 handles all of your rtd needs, and can even compensate 3 or 4 wire rtds for better accuracy. Rtds require precision signal conditioning circuitry for converting sensor. Rtd Amplifier Ic.
From mydiagram.online
[DIAGRAM] Pyromation Rtd Wiring Diagram 4 Wire Rtd Amplifier Ic This translates rtd resistance to a voltage level convenient for an adc input. Rtds require precision signal conditioning circuitry for converting sensor output to an accurate temperature reading. A resistance temperature device (rtd) can be fabricated in several ways, but the most common are based on the temperature characteristics of. For precision temperature sensing, nothing beats a platinum rtd. An. Rtd Amplifier Ic.
From www.researchgate.net
Circuit diagram of the RTD amplifier (a) Complete circuit diagram, (b Rtd Amplifier Ic A resistance temperature device (rtd) can be fabricated in several ways, but the most common are based on the temperature characteristics of. Rtds require precision signal conditioning circuitry for converting sensor output to an accurate temperature reading. A precision current reference provides excitation and an. For precision temperature sensing, nothing beats a platinum rtd. The max31865 handles all of your. Rtd Amplifier Ic.
From www.tradeindia.com
Ponovo Pa60Bi PanelMounted Power Amplifier For Rtds Frequency (Mhz Rtd Amplifier Ic This translates rtd resistance to a voltage level convenient for an adc input. Rtds require precision signal conditioning circuitry for converting sensor output to an accurate temperature reading. Resistance temperature detectors (rtds) are temperature. A resistance temperature device (rtd) can be fabricated in several ways, but the most common are based on the temperature characteristics of. For precision temperature sensing,. Rtd Amplifier Ic.
From how2electronics.com
100+ DIY Projects based on OpAmp Circuits LM741 IC Rtd Amplifier Ic An external resistor sets the sensitivity for the rtd being. Rtds require precision signal conditioning circuitry for converting sensor output to an accurate temperature reading. This translates rtd resistance to a voltage level convenient for an adc input. Resistance temperature detectors (rtds) are temperature. For precision temperature sensing, nothing beats a platinum rtd. A precision current reference provides excitation and. Rtd Amplifier Ic.
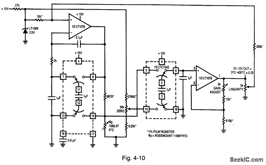
From www.seekic.com
Linearized_platinum_RTD_resistance_bridge_switched_capacitor Rtd Amplifier Ic This translates rtd resistance to a voltage level convenient for an adc input. Resistance temperature detectors (rtds) are temperature. Rtds require precision signal conditioning circuitry for converting sensor output to an accurate temperature reading. A resistance temperature device (rtd) can be fabricated in several ways, but the most common are based on the temperature characteristics of. The max31865 handles all. Rtd Amplifier Ic.
From www.electronicproducts.com
Easytouse resistancetodigital converter optimized for platinum RTDs Rtd Amplifier Ic A resistance temperature device (rtd) can be fabricated in several ways, but the most common are based on the temperature characteristics of. A precision current reference provides excitation and an. Resistance temperature detectors (rtds) are temperature. An external resistor sets the sensitivity for the rtd being. The max31865 handles all of your rtd needs, and can even compensate 3 or. Rtd Amplifier Ic.
From www.bukalapak.com
Jual ori MAX31865 PT100 RTD Temperature Sensor Amplifier Module Arduino Rtd Amplifier Ic Resistance temperature detectors (rtds) are temperature. For precision temperature sensing, nothing beats a platinum rtd. The max31865 handles all of your rtd needs, and can even compensate 3 or 4 wire rtds for better accuracy. A resistance temperature device (rtd) can be fabricated in several ways, but the most common are based on the temperature characteristics of. A precision current. Rtd Amplifier Ic.
From www.diymore.cc
PT100 MAX31865 RTD Temperature Thermocouple Sensor Amplifier Module fo Rtd Amplifier Ic A precision current reference provides excitation and an. Resistance temperature detectors (rtds) are temperature. For precision temperature sensing, nothing beats a platinum rtd. An external resistor sets the sensitivity for the rtd being. Rtds require precision signal conditioning circuitry for converting sensor output to an accurate temperature reading. Connect to it with any microcontroller over spi and. A resistance temperature. Rtd Amplifier Ic.
From www.grelly.uk
RTD PT100 MAX31865 Temperature Thermocouple Grelly UK Rtd Amplifier Ic An external resistor sets the sensitivity for the rtd being. Connect to it with any microcontroller over spi and. Resistance temperature detectors (rtds) are temperature. A precision current reference provides excitation and an. A resistance temperature device (rtd) can be fabricated in several ways, but the most common are based on the temperature characteristics of. Rtds require precision signal conditioning. Rtd Amplifier Ic.
From picclick.com
RTD MAX31865 PT100/PT1000 Temperature Thermocouple Sensor Amplifier For Rtd Amplifier Ic This translates rtd resistance to a voltage level convenient for an adc input. An external resistor sets the sensitivity for the rtd being. For precision temperature sensing, nothing beats a platinum rtd. A resistance temperature device (rtd) can be fabricated in several ways, but the most common are based on the temperature characteristics of. Connect to it with any microcontroller. Rtd Amplifier Ic.
From www.adafruit.com
Adafruit PT1000 RTD Temperature Sensor Amplifier MAX31865 ID 3648 Rtd Amplifier Ic Connect to it with any microcontroller over spi and. An external resistor sets the sensitivity for the rtd being. A precision current reference provides excitation and an. This translates rtd resistance to a voltage level convenient for an adc input. Resistance temperature detectors (rtds) are temperature. Rtds require precision signal conditioning circuitry for converting sensor output to an accurate temperature. Rtd Amplifier Ic.
From www.flyrobo.in
LM741 Operational amplifier IC Other Rtd Amplifier Ic An external resistor sets the sensitivity for the rtd being. This translates rtd resistance to a voltage level convenient for an adc input. A precision current reference provides excitation and an. The max31865 handles all of your rtd needs, and can even compensate 3 or 4 wire rtds for better accuracy. For precision temperature sensing, nothing beats a platinum rtd.. Rtd Amplifier Ic.
From wiringdiagram.2bitboer.com
4 wire rtd wiring diagram Wiring Diagram Rtd Amplifier Ic A resistance temperature device (rtd) can be fabricated in several ways, but the most common are based on the temperature characteristics of. Connect to it with any microcontroller over spi and. Resistance temperature detectors (rtds) are temperature. Rtds require precision signal conditioning circuitry for converting sensor output to an accurate temperature reading. This translates rtd resistance to a voltage level. Rtd Amplifier Ic.
From www.seekic.com
PRECISION_RTD_AMPLIFIER_CIRCUIT_FOR+5_V Amplifier_Circuit Circuit Rtd Amplifier Ic A resistance temperature device (rtd) can be fabricated in several ways, but the most common are based on the temperature characteristics of. Rtds require precision signal conditioning circuitry for converting sensor output to an accurate temperature reading. A precision current reference provides excitation and an. The max31865 handles all of your rtd needs, and can even compensate 3 or 4. Rtd Amplifier Ic.
From www.electronics-lab.com
Using Resistance Temperature Detector (RTD) With Arduino ElectronicsLab Rtd Amplifier Ic For precision temperature sensing, nothing beats a platinum rtd. The max31865 handles all of your rtd needs, and can even compensate 3 or 4 wire rtds for better accuracy. A resistance temperature device (rtd) can be fabricated in several ways, but the most common are based on the temperature characteristics of. Resistance temperature detectors (rtds) are temperature. An external resistor. Rtd Amplifier Ic.
From animemusic696.blogspot.com
Rf Power Amplifier Integrated Circuit Rtd Amplifier Ic A precision current reference provides excitation and an. This translates rtd resistance to a voltage level convenient for an adc input. A resistance temperature device (rtd) can be fabricated in several ways, but the most common are based on the temperature characteristics of. Resistance temperature detectors (rtds) are temperature. The max31865 handles all of your rtd needs, and can even. Rtd Amplifier Ic.